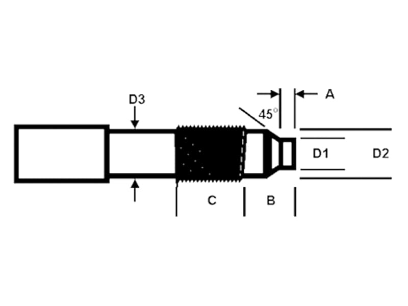
Basınç Sensörü Bağlantı Dış Ölçüleri
13 11 2020

Basınç Sensörü Bağlantı Dış Ölçüleri

MPS Eriyik Basınç Sensörü, Bağlantı Dış Ölçüleri

 

Thread

A

B

C

D1

D2

D3

1/2-20UNF

0.22"-0.01"
5.56mm-0.26

0.44"
11.2mm

0.62"
15.74mm

0.31"-0.002"
7.8mm-0.025

0.41"-0.001"
10.5mm-0.025

0.42"
10.67mm

M18x1.5

0.24"-0.01"
6mm-0.26

0.58"
14.8mm

0.75"
19mm

0.394"-0.002"
10.0mm-0.05

0.63"-0.003"
16.0mm-0.03

0.63"
16.0mm

M14x1.5

0.21"-0.01"
5.4mm-0.26

0.65"
16.4mm

0.42"
10.6mm

0.31"-0.002"
7.8mm-0.025

0.46"-0.001"
11.8mm-0.025

0.47"
12mm

M10x1

0.244"-0.01"
6.20mm-0.26

0.425"
10.79mm

0.38"
9.7mm

0.2365"-0.002"
6mm-0.05

0.335"-0.001"
8.51mm-0.05

0.334"
8.48mm

 

Bizi Yakından Tanıyın

Hizmette kalite sizi bekliyor. Size nasıl yardımcı olabiliriz?

WhatsApp chat
WhatsApp chat